ABB Control Server

פתרון בקרה מתקדם המאפשר שליטה מלאה ונוחה במערכות האוטומציה בבית דרך מכשירים חכמים כגון טלפונים ניידים וטאבלטים. ההתקן מספק למשתמשים שליטה על הבית החכם ומציע את האפשרות לשלוט על מגוון פונקציות שונות כגון: תאורה, תריסים, מצלמות ומערכות אחרות הקיימות במבנה. בנוסף, ההתקן מתאפיין באבטחה מצויינת ובהתקנה ותפעול קלים, מה שהופך אותו לבחירה האידאלית עבור כל משתמש המעוניין לשדרג את הבית.

מספר תכונות עיקריות

  • שליטה מרחוק: משתמשים יכולים לבצע משימות הפעלה ושינויי תצורה בהתקן בגישה מרחוק.
  • תאימות: ניתן לשלב מערכות ומכשירי בית חכם נוספים, כמו:
    • מצלמות IP
    • מערכות סאונד של Sonos
    • תאורה חכמה של PHILIPS
  • הודעות מיידיות: שולח הודעות על תקלה/אזעקה אל המשתמש.
  • תמיכה: תומך במכשירי אפל ואנדרואיד.

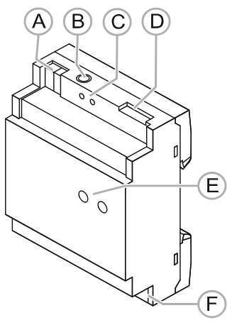
Auxiliary voltage connection .A

חיבור המיועד לספק מתח עזר: 5-36V.

Connection socket .B

שקע חיבור עבור מתח של 5VDC.

Reset buttons (R1, R2) .C

כפתורי איפוס. בעזרתם ניתן לבצע אתחול מהיר להתקן.

IP connection (LAN) .D

חיבור לרשת באמצעות כבל רשת (IP).

Display operating states (LEDs) .E

נורות לד המראות את מצב ההפעלה של ההתקן ומספקות למשתמש אינדיקציות על מצבו.

KNX bus connection .F

חיבור המאפשר להתקן לתקשר עם שאר הרכיבים במערכת של המבנה.


מידות

  • רוחב 72mm
  • גובה 90mm
  • עומק 60mm
  • משקל 0.1kg

מפרט טכני

  • מתח כניסה 24V
  • מתח עזר בתחום 5-36V
  • צריכת חשמל 250mA (ב- 5VDC)